Чертежы домов своими руками
ok.ru
Чертежи для создания самой эффективной буржуйки
По своей конструкции — это самая примитивная печь, которая, при этом, уже довольно давно доказала свою идеальную эффективность. Именно по этой причине печи, которые работают на отработке, и в настоящее время не теряют своей востребованности. Можно без проблем найти подходящий чертеж и сделать конструкцию своими руками.
Некоторые производители современного отопительного оборудования еще занимаются выпуском добротных моделе...
kak-svoimi-rukami.com
Домик для кошки своими руками Кошкин дом своими руками – фото и чертеж Уютный домик для кошки или маленькой собачки совсем несложно сшить самостоятельно, даже если вы мужчина, не особо владеющий навыками шитья. Для того чтобы сделать домик кошке нам понадобится Понадобится: поролон толщиной 3 см, размером 2x1,5 м, бязь 2,4x1,5 м, нитки, игла, ножницы, бумага, карандаш. Рисуем на бумаге выкройку домика (схема на стр. 18). Из поролона вырезаем 1 заготовку дна и 4 стенки, в о...
usamodelkina.ru
Изготовление интересного мини-бара своими руками Приветствую, Самоделкины!Сегодня на повестке у нас молот Алко-Тора. И если откинуть долю юмора, то в итоге у нас получится необычный мини-бар, который отлично впишется как в интерьер мастерских и гаражей, так и вполне себе приятно будет смотреться в стенах дома.Незамысловатый чертёж со всеми его
sam.mirtesen.ru
Итальянский диван своими руками или наш ответ санкциям Обратилась недавно знакомая, с просьбой, сделать аналог элитного итальянского дивана (с кое-какими дополнениями и изменениями). Делали вдвоем + швея Выслали мне фото: Согласовали чертеж. рассчитали размеры Использованные материалы: Фанера 15 мм, брус 40*50 и 30*40, клей ПВА...
ok.ru
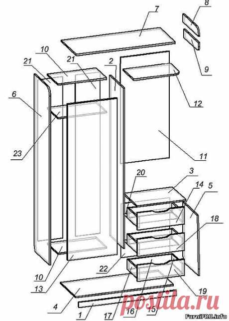
Шкаф-купе своими руками.
Шкаф-купе состоит из следующих частей:
Корпус шкафа: ЛДСП (ламинированная древесно стружечная плита) + кромка (для обрамления торцов ЛДСП).
Двери шкафа: алюминиевая система (каркас двери, направляющие, ролики) + вставки в дверь.
Фурнитура: крепёж, полкодержатели, штанга, корзины и т.д.
Последовательность работ :
1. Продумываем чертёж шкафа - габариты шкафа-купе, сколько секций в шкафу, количество полок, нужны корзины или ящики, где будет штанга...
vk.com
Тёплая будка для собаки своими руками, чертёж и сборка. Сделать будку для собаки своими руками непросто, но вполне возможно. Тёплая собачья будка – это прямоугольная конструкция с плоской крышей и утеплёнными стенами, состоящая из спального места и тамбура. Какие материалы подойдут для строительства собачьей будки своими руками 1.Каркас – сосновые бруски 50x50 или 40x40 миллиметров, а также 50x25 (40x25) миллиметров; 2.Наружная обшивка – либо деревянная вагонка (рекомендуется), либо…








































