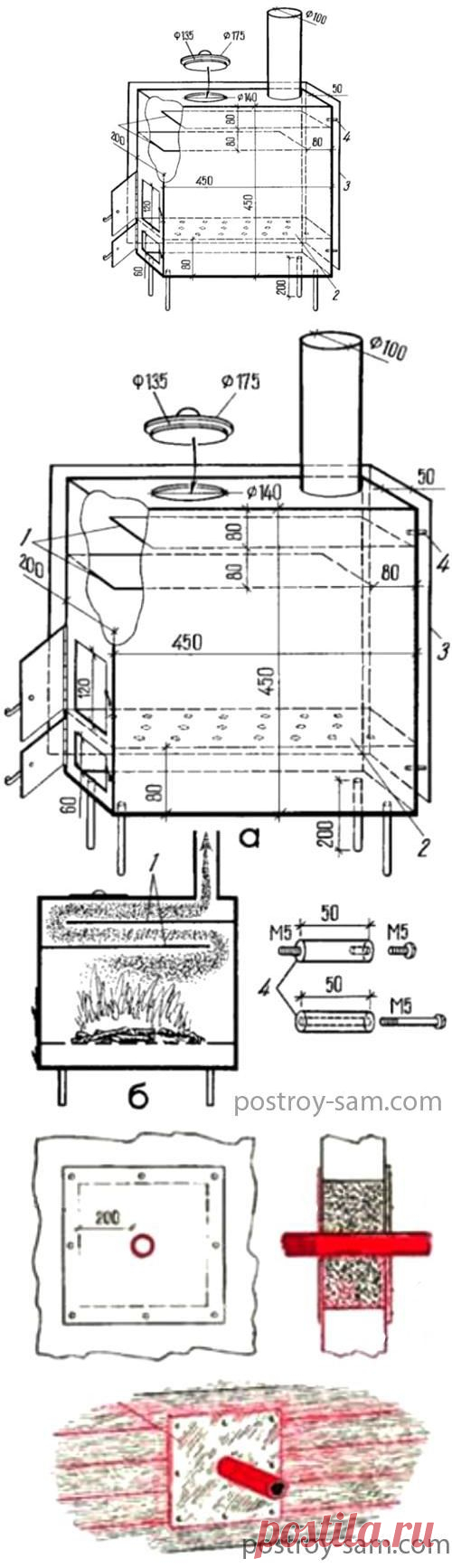
Схема конструкции буржуйки