Конструкции
sso.passport.yandex.ru
                
          Шикарные ЛЕТНИЕ модели для вязания спицами со схемами . | Волшебный клубок. Яна Зима. | Дзен
        
          iddeas.ru
                
          Выдвижная полка для навесного кухонного шкафа     Выдвижная полка является отличным решением для организации пространства в кухонных шкафах. Ее установка в навесной кухонный шкаф значительно упрощает доступ к хранимым там предметам. Благодаря телескопическим направляющим, полка выдвигается плавно и без усилий.   Особенность конструкции выдвижной полки     Особенностью данной выдвижной полки является возможность наклона её при выдвижении. Такая конструкция обеспечивает...
        
          mirkarkasov.ru
                
          Сейчас популярная компания «МИР КАРКАСОВ» предлагает собственным заказчикам высококачественные и стильные лестницы, где любой желающий сможет купить наиболее подходящее решение. Ознакомиться со всеми предложениями фирмы возможно на официальном сайте или же при помощи квалифицированного сотрудника, который подробно расскажет о каждой конструкции.
        
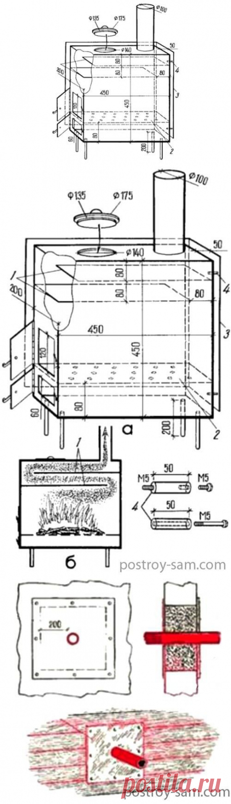
          sdelaysam-svoimirukami.ru
                
          Мощный электровелосипед на асинхронном электродвигателе Этот мощный электровелосипед способен спокойно возить двух человек. В отличии от классической конструкции электровелосипеда на мотор-колесе, эта модель использует асинхронный электродвигатель. В результате повышенное КПД и сильный начальный момент. Хотя конечно в скорости он немного проигрывает
        
          kamen-lazurit.ru
                
          Монументы, памятники, стелы, а также иные варианты подобных конструкций позволяют эстетичность места захоронения, выражают скорбь об умершем. Поиск подходящего варианта необходимо делать крайне внимательно, учитывая характеристики материалов, дизайн остальных конструкций, длительность эксплуатации. Различаются цвета, расположение деталей, методики обработки и иные особенности.
        
          dzen.ru
                
          Вибродемпфирующие эластомерные пластины ПД-С-Ф ТУ 22.19.20-133-75233153-2022 компании Вулканикум -  это монолитные изделия с минимумом упругих свойств и максимумом демпфирующих, т.е. направленных на поглощение энергии колебаний. Такие нитрильные эластомерные материалы практически несжимаемы, что делает прогнозируемым поведение конструкций в эксплуатации, особенно в сравнении с пенополиуретановым Sylomer и аналогами, которые имеют тенденцию к постоянному сжатию на протяжении более чем 10 лет.
        
          iddeas.ru
                
          Идеальные складные козла своими руками     Не всегда удобно работать с материалами на полу или низком столе, особенно когда нужно делать точные измерения и резки. Решение проблемы – складные козла. Такая конструкция позволяют организовать рабочее место в любой части помещения и легко перемещаться в другие зоны проведения работ.   Почему следует сделать складные козла?   Складные козла — это...
        
          sdelaysam-svoimirukami.ru
                
          Самый простой гриндер без сварки и токарки из двигателя стиралки Этот инструмент можно сделать самостоятельно даже если нет токарного станка и сварочного оборудования. В результате он получится простым по конструкции и в изготовлении, а также без больших затрат. Понадобится Основные детали и узлы берем из старой бытовой техники, а кое-что заимствуем у знакомых
        
          vk.com
                
          Запись на стене Розовый джемпер от бренда ОurhopeСостав пряжи в этой модели - 55% лен, 40% хлопок и 5 % нейлон.Джемпер с коротким оригинальным рукавом и воротником-поло с коротенькой планкой (застежка только на две пуговицы).В этом джемпере интересно сделан рукав с объемной верхней частью (примерная конструкция - на девятом фото). Рукав сбоку не виден, но там явно по центру проходит шов. На схеме - один раппорт узора, 28 петель и 40 рядов. В...
        
          souspark.ru
                
          Торт “3 стакана”. Готовлю быстро и легко из самых простых продуктов Торты раньше могли готовить лишь искусные кондитеры, которые могли правильно взбить сливки, испечь коржи и собрать саму конструкцию торта. Многие до сих пор считают, что торты и их приготовление — это удел лишь избранных кулинаров. На самом же деле торты стали настолько простым десертом, что его готовит каждый второй кондитер новичок. Для домашних тортов необязательно […]
        
          abc-free-machine-embroidery-designs.com
                
          Бесплатные дизайны вышивки   
дизайн: ABC-Free-Machine-Embroidery-Designs.com конструкций
        
          























![Alix Perez & Ebb, Alix Perez & Visages - Gloom EP [1985 Music]](https://postila.ru/resize?w=460&src=%2Fs3%2F83a%2F3c%2Fc963e90195dc54a487a7b8c732a.jpg)




















